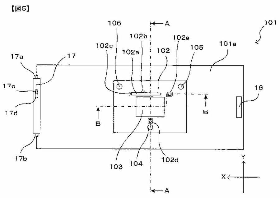
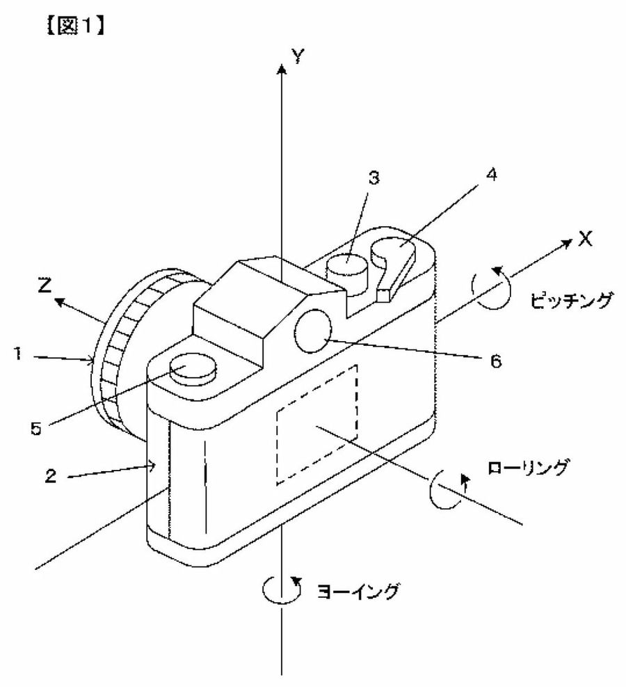
El fabricante de tecnología Nikon ha sorprendido con una solicitud de patente con la que renovar nuestra antigua cámara de carrete. Según el blog Egami Nikon ha solicitado la patente de un sistema que permite convertir una cámara de 35mm en una cámara digital.
La solicitud de patente fue presentada en Japón el pasado año y consiste en un sistema capaz de controlar la distancia focal y un reemplazo sencillo en función de las necesidades del usuario.
Evidentemente cada cámara tiene un tamaño determinado y el dispositivo tendría que ser muy personalizado para cada modelo de cámara por lo que suponemos que si algún día este artilugio ve la luz será únicamente para las cámaras de la propia marca.
Más info: nikkonrumors


