Apple suma nuevas patentes para Project Titan, su auto del futuro



Reportes y rumores sobre un automóvil con piloto automático diseñado por Apple han existido desde el 2015, pero nuevas patentes avistadas han arrojado luz sobre el estado actual del proyecto, especialmente gracias a la solicitud de patente denominada como “sistemas de alineación de carga inalámbrica”, la cual ha dado de que hablar en días recientes. Asimismo, tampoco podemos olvidar mencionar el parachoques retráctil y sistema de suspensión hecho a la medida con los que contaría el Apple Car

Project Titan: el automóvil diseñado por Apple 

El rumoreado automóvil de Apple todavía no cuenta con una imagen oficial, y por lo general está envuelto en un aura de misterio, pero de acuerdo con el conocido analista Ming-Chi Kuo, Project titan sería revelado en algún punto comprendido entre 2023 y 2025. No obstante, lo que nos puede ayudar a hacernos una idea de sus características, son las tres patentes que han salido a la luz en un espacio de tiempo de tan solo una semana. 

Carga inalámbrica

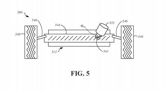
En primer lugar, se encuentra la patente de carga inalámbrica, la cual apunta a que Apple busca desarrollar un mecanismo de carga inalámbrica para vehículos eléctricos. Este combinaría la carga con un sistema de control, lo que permitiría alinear el vehículo para optimizar el proceso. 

Project Titan - Carga inalámbrica


De acuerdo con la patente registrada, la potencia se transferiría desde un transmisor de potencia inalámbrico en el espacio de estacionamiento a un receptor de potencia inalámbrico acoplado a la carrocería del vehículo. Dicho transmisor podría ser acoplado en garajes y estacionamientos, y una vez se encuentre alineado con el Apple Car, la energía empezaría a fluir. 

Parachoques retráctil

En segundo lugar, se encuentra la patente de un parachoques retráctil que permitiría al vehículo ocupar menos espacio cuando se necesite. De acuerdo con la información suministrada en las patentes, se utilizaría gas presurizado para expandir y contraer el parachoques. 

Sistema de suspensión

Por último, encontramos al sistema de suspensión del Project Titan, el cual por lo visto funciona como sistema de dirección asistida relativamente convencional, pero con una novedad clave. En este sentido, el mecanismo reduciría la fricción de los neumáticos y proporcionaría una mejor estabilidad direccional, aunque no se describe el método de manera específica. 

Sistema de suspensión del Project Titan


Probablemente pasarán más años antes de que Apple decida revelar a Project Titan, así que lo único que podemos hacer es mantener el ojo atento a las patentes que rodean su desarrollo, pues con total certeza, estas no serán las últimas. 

Vía | Inverse 

GizLogic

Fuente: este post proviene de Gizlogic, donde puedes consultar el contenido original.
¿Vulnera este post tus derechos? Pincha aquí.
Creado:
¿Qué te ha parecido esta idea?

Esta idea proviene de:

Y estas son sus últimas ideas publicadas:

Recomendamos

Relacionado

iPhone #apple iPhone 7 ...

La caída con la pantalla del teléfono boca abajo es uno de los mayores peligros para un móvil.  Casi seguro que supondrá el fin del teléfono y la pérdida del dinero invertido. Así, la pantalla de la mayoría de teléfonos móviles no aguantan caídas de este tipo, por lo que pueden ser útiles los parachoques. Apple piensa mucho en estos temas. Un ejemplo de ello es  una primera patente del año pasado ...