Samsung Galaxy X, el móvil plegable de Samsung nos deja más pistas

En 2018 veremos llegar una tecnología que deseamos ver en funcionamiento, hablamos de los móviles plegables que van a llegar el próximo año. Samsung ya ha confirmado que lanzará un terminal plegable del que sabemos poquísimo. Al tratarse de algo tan novedoso, cada paso que avanza Samsung ha de ser patentado, lo que nos deja con pistas fundamentales del diseño que va a tener este Samsung Galaxy X, nombre que por el momento tiene este proyecto.

Hace algunos días ZTE confirmó que trabaja en un móvil plegable, al igual que Apple o Huawei, si bien Samsung tiene su terminal más avanzado. No sabemos exactamente en qué instante de 2018 se presentará este dispositivo, mas seguro que Samsung ya tiene un diseño final para él. El día de hoy merced a una serie de patentes presentadas por la compañía podemos conocer más detalles de este dispositivo.

imagen móvil plegable de Samsung


Nuevo móvil plegable de Samsung para 2018

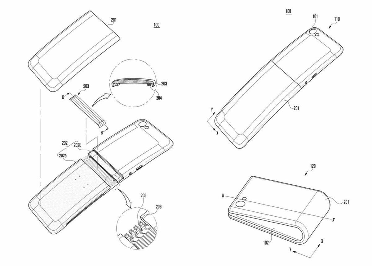
Llevamos bastante tiempo hablando del Samsung Galaxy X, viendo decenas y decenas de renders y conceptos, mas hasta el momento no teníamos una imagen tan clara de lo que prepara Samsung. Merced a las patentes presentadas por la propia compañía podemos ver unas imágenes muy reveladoras. En ellas se muestra el sistema de cierre de lo que semeja un móvil de concha.

móvil plegable de Samsung


El sistema no va a ser muy, muy diferente, solo que no aguardamos ver bisagras, sino más bien una pantalla que es flexible y cuenta con un sistema de cierre bastante avanzado. Cuando el terminal esté cerrado no vamos a poder visualizar contenido, con lo que para ello va a haber que abrirlo tal y como si de un móvil de concha se tratara. La primordial diferencia es que no vamos a ver una pantalla, un sistema de bisagras y un teclado numérico, sino más bien una pantalla que ocupa prácticamente todo el frontal.

móvil plegable de Samsung


No contamos con información sobre esta pantalla, pero todo apunta a que va a llegar con una diagonal de 7 pulgadas. El sistema que nos muestran las patentes asimismo nos deja meditar que el cierre se puede poner en diferentes partes del dispositivo, algo que vamos a ver de qué forma se presenta en un móvil inteligente real.

vía

>>> Si usas Telegram te interesa apuntarte a nuestro Canal de Telegram, con todos los artículos del blog y mucho más.

Fuente: este post proviene de TeknePolis, donde puedes consultar el contenido original.
¿Vulnera este post tus derechos? Pincha aquí.
Creado:
¿Qué te ha parecido esta idea?

Esta idea proviene de:

Y estas son sus últimas ideas publicadas:

Recomendamos

Relacionado

Android moviles ZTE

Son múltiples ya los meses en los que llevamos escuchando cotilleos sobre un futuro móvil plegable de Samsung, incluso ayer mismo os hablamos de este Samsung plegable, lo que vendría a ser un dispositivo bastante diferente a lo que estamos habituados a ver en el mercado actual. Hoy ZTE nos sorprende a todos, y es que este nuevo dispositivo podría llegar para antes de finales de año, adelantándose ...

Noticias Samsung

Hace unos días Samsung probó por primera vez en vivo durante la Conferencia de Desarrolladores, su panel Infinity Flex para los futuros móviles plegable, que espera estrenar el 2019. Otros fabricantes se unen en la misma dirección de traer dispositivos con diseño plegable e incluso Google trabaja en una interfaz especial adaptada a estos dispositivos. Naturalmente, esta tecnología abre las puertas ...

Android movil plegable moviles ...

Cuando un producto se crea completamente nuevo, su fase de gestación es extremadamente larga y puede durar años. Este será probablemente el caso del muy hablado Samsung Galaxy X, el primer móvil plegable de Samsung que podría empezar a aparecer en 2018. Hoy, gracias a los colegas del Galaxy Club, surge una rica galería de imágenes, procedente de una patente de 2016 Samsung, en la que la empresa su ...

Smartphones

Ya hemos presenciado la llegada de la familia Galaxy Note 20 y también del Galaxy Watch 3, pero no podemos olvidarnos del móvil plegable de segunda generación de la compañía surcoreana, el Samsung Galaxy Z Fold 2, el cual ha recibido mejoras significativas sobre su predecesor y busca ser el dispositivo más versátil hecho por el hombre hasta ahora, haciendo énfasis en la productividad y la multitar ...

Smartphones

Samsung no para ni un solo momento cuando se trata de pensar en lo que será tendencia en el mercado móvil a futuro. Por ejemplo, el diseño de la siguiente generación tiene a la capacidad plegable como una de las apuestas más grandes de la firma coreana, y las últimas informaciones mencionan un nuevo concepto de móvil que ya ha sido patentado. Samsung Galaxy Z Fold 3 estaría en desarrollo de cara a ...

Samsung Móviles Samsung Galaxy X

El misterio del Samsung Galaxy X ha sido develado. Finalmente la empresa surcoreana hizo públicas las primeras fotos oficiales del nuevo Smartphone Samsung con pantalla plegable. Las imágenes de la nueva patente dejan ver un dispositivo de pantalla flexible que nos permitirá doblar el teléfono de la misma forma que doblamos un cuaderno. La tecnología táctil ocupará toda la superficie frontal del t ...

Smartphones

Después de conocer la fecha de presentación del Samsung Galaxy S20, un Unpacked en el que la compañía surcoreana mostraría también su nuevo plegable, hoy nos despertamos con una noticia interesante. Ya se ha publicado la primera imagen oficial del móvil, que, tal y como se espera, cambia el sistema de plegado y se convierte ahora en una especie de “polvera de maquillaje” para reducir s ...

móviles samsung samsung galaxy core ...

Acaba de filtrarse que Samsung lanzará a finales del próximo mes de mayo un nuevo terminal de gama media llamado Samsung Galaxy Core, en los países de China y Rusia. El Samsung Galaxy Core es un innovador equipo que promete sorprender a los usuarios de Samsung, este terminal posee un soporte de doble targeta SIM, en otras palabras, podremos disponer de dos números telefónicos diferentes utilizando ...

Noticias Android Samsung

Samsung es la compañía, junto con LG, que parece que más empeño está poniendo en lanzar al mercado el primer dispositivo móvil con una pantalla completamente plegable, por lo que se dice en los medios de Corea del Sur, podría estar más cerca de lo que creemos. Se habla incluso de fechas tan cercanas como el tercer trimestre de este año 2017 que acabamos de estrenar, lo que se dice a la vuelta de l ...

Smartphones

Nuevo Samsung Galaxy Z Fold5, ahora más plegable que nunca Haciendo gala de una mejora en su bisagra, llega el Samsung Galaxy Z Fold5, buscando convertirse en el mejor diseño plegable jamás visto. Por lo menos desde Samsung creen haber alcanzado el santo grial en un dispositivo de estas características. También reclaman el hecho de ser el más fino y liviano de la serie.  Retomando el punto de la b ...