Samsung Galaxy S8 podría llegar a tener una cámara doble

Samsung Galaxy S8 es el smartphone de moda, y eso que todavía faltan unos cuantos meses para que sea presentado oficialmente. Aunque eso no está impidiendo para nada que casi a diario salgan nuevas filtraciones y rumores sobre el que será el próximo buque insignia de la compañía surcoreana. Hoy toca el turno a una posible cámara doble que incorporaría como gran novedad.

Pero los rumores no se quedan solamente en dicha cámara doble, ya que también se está hablando de la posibilidad de que dicha cámara además venga provista de un zoom inteligente para alcanzar un mayor grado de calidad en cuanto a las fotografías que se podrán hacer. Aunque por la información que ha surgido, es posible que este invento no llegue a tiempo para el Samsung Galaxy S8.

galaxy s8


El Samsung Galaxy S8 representará lo mejor

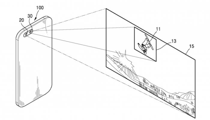
Toda esta información de la que se está hablando hoy mismo en toda la red surge a raíz de la solicitud de una patente por parte de Samsung donde se especifica esa doble cámara y además el zoom inteligente. Un sistema que consiste en una doble lente capaz de rastrear y grabar o fotografiar objetos que nos rodean. Una lente tomaría un plano general, mientras que la otra perseguiría el objeto que hemos elegido a través de todo el plano.

galaxy s8


Muchas voces apuntan a que este sistema de doble cámara no estará desarrollado plenamente para incorporarlo al Samsung Galaxy S8, así que probablemente no lo veamos, aunque en un futuro yerno no se descarta para nada. Además todavía tenemos que ver algunas sorpresas en el nuevo buque insignia de la compañía surcoreana.

vía

Fuente: este post proviene de Aplicaciones para Android, donde puedes consultar el contenido original.
¿Vulnera este post tus derechos? Pincha aquí.
Creado:
¿Qué te ha parecido esta idea?

Esta idea proviene de:

Y estas son sus últimas ideas publicadas:

Recomendamos

Relacionado

Samsung Móviles Android Samsung Galaxy S8

El fabricante surcoreano Samsung estaría preparando el anuncio de una versión mini de su nuevo buque insignia, el Samsung Galaxy S8. La presentación oficial del Samsung Galaxy S8 se realizará durante la primavera, seguramente en un evento exclusivo de la marca. Pero no es el único rumor sobre la gama alta de Samsung. Todo parece indicar que además del teléfono principal, también se presentará una ...

Noticias Android Samsung

Muchos apuestan ya a que el Samsung Galaxy S8 llegará al mercado cargado de novedades que pueden tener mucho que ver con su software, y entre ellas es posible que se encuentro la función Bixby Vision, un asistente que con ayuda de la cámara del smartphone ayudaría a identificar todo lo que pueda llegar a captar. Por lo menos esa marca ya ha sido registrada en Europa. Desde hace unos pocos días ya ...

Noticias Samsung

Desde la estrepitosa caída del Samsung Galaxy Note 7, los rumores del próximo Galaxy S8 no han hecho mas que aumentar. Primero se dijo que Samsung iba a descontinuar la gama Note y luego que siempre sí habrá un Note 8. Ahora el más reciente rumor apunta a un aumento de pantalla del Galaxy S8, que sería el mismo tamaño que el Note 7. Según el portal coreano The Investor, la gigante Samsung planea f ...

Actualidad Batería Cámara ...

Hace apenas unas horas Samsung acaba de desmentir que vaya a presentar el Galaxy S8 en la inminente convención del MWC 2017. ¡Vaya por dios! Parece que el lanzamiento del nuevo buque insignia de la compañía coreana se retrasará hasta finales de marzo o abril, lo que significa que todavía tendremos que esperar un poco más para ver este terminal en vivo y en directo. Por suerte, muchas de las especi ...

Samsung Samsung Galaxy S8 Samsung Galaxy S8 Plus

Después de que la firma coreana Samsung confirmará la fecha de presentación del Samsung Galaxy S8 y S8 Plus no han parado de salir a la luz distintas filtraciones sobre el dispositivo. Lo más reciente que se ha filtrado a la web es una serie de especificaciones pertenecientes a los dos modelos que llegarán del nuevo buque insignia Samsung. Los muchachos del sitio web Geekbench han filtrado datos m ...

Noticias Android Samsung

Samsung Galaxy S8 no para de generar información en forma de filtraciones y rumores en la ultimas horas, algo muy lógico teniendo en cuenta que falta poco tiempo para que lo veamos presentado oficialmente. Si hace nada hablábamos de una fotografía real del nuevo buque insignia, ahora se muestran las que dicen son las verdaderas características técnicas de este nuevo smartphone. Parece ser que a un ...

tecnologia samsung galaxy samsung galaxy s8 ...

Share on Tumblr Samsung Galaxy S8 Caracteristicas y Especificaciones Técnicas GUIA COMPLETA DE SAMSUNG GALAXY S8 CARACTERISTICAS Y ESPECIFICACIONES TÉCNICAS, PRECIO Y LANZAMIENTO MUNDIAL Bienvenido Querido Lector!!! El día de hoy hablaremos del Nuevo Lanzamiento de la Compañía Samsung. Nada mas y nada menos que el Samsung Galaxy S8 y Samsung Galaxy S8 Plus. Los cuales ya vieron el Mundo el 29 ...

Noticias Smartphones

Apenas hace unos meses que salió a la venta el Samsung Galaxy S7 y S7 Edge y ya hay fuertes rumores sobre las especificaciones del Galaxy S8. Esta vez, el sitio chino 163.com ha revelado que el Galaxy S8 tendrá una pantalla AMOLED 4K a 806 ppi que ofrecería una resolución de 3840×2160 píxeles, algo todavía difícil de alcanzar por los fabricantes pero que, sin embargo, Samsung ya habría presen ...

Android moviles Samsung ...

El Samsung Galaxy S8 no para de producir información en forma de filtraciones y cotilleos en la últimas horas, algo muy lógico teniendo presente que falta poco tiempo a fin de que lo veamos presentado oficialmente. Si hace nada os contábamos la aparición de una nueva foto real del nuevo smartphone insignia de Samsung, ahora se muestran las que afirman son las auténticas características del nuevo G ...

Noticias Android Samsung

Samsung Galaxy S8 va a ser el smartphone de la compañía surcoreana que parece que va a venir a marcar grandes diferencias con sus rivales más cercanos, tal y como estamos viendo por las informaciones que se están filtrando en las últimas semanas. La última de ellas asegura que la compañía trabaja en una función que convertirá su buque insignia en todo un PC para poder trabajar en cualquier lugar. ...